Возведение строений
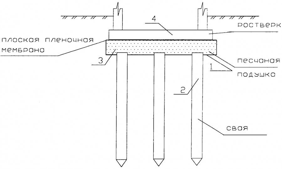
Цоколь
Особенность свайного фундамента в том, что у него отсутствует классический цоколь и подвальные помещения. Обычно цоколь для него делают из фальш-панелей на обрешётке из металла или дерева. При этом нужно сохранить пустое пространство между ними и землёй, которое закладывается тротуарной плиткой.
Утепление фундамента на винтовых сваях и гидроизоляция
Особенность конструкции свайно-винтового фундамента, как её можно увидеть на многочисленных видео, подразумевает, что между полом и землёй остаётся зазор. В результате, первый требует утепления. Для этого можно использовать минеральную вату или пенопласт.
Схема утепления фундамента
Но, прежде утепления нужна гидроизоляция. Для этого все стыки и открытые части обрабатываются специальными составами. Последние, как и обвязка, могут быть изолированы рулонным материалом. Подпольное пространство стоит засыпать керамзитом, благодаря которому не будет гулять ветер.
Подвал
Подвала в классическом понимании, как его позволяет сделать ленточный, у дома на свайно-винтовом фундаменте нет. Но его можно заменить, вырыв котлован. В таком случае котлован делается до установки свай, а на его полу устраивается железобетонный плат. Это необходимо, поскольку сваи или обвязка будут плохо держаться в грунте котлована. Котлован надо утеплить и гидроизолировать.
Хорошим заменителем котлована может быть погреб. В любом случае, стоить работы будут дороже, чем простое устройство свайно-винтового фундамента.
Видео описание
Желающим познакомиться с процессом заливки свай, предлагаем посмотреть этот ролик:
Устройство оголовков и обвязки
Оголовком называют торцевую часть сваи, закрываемую, как правило, насадным кольцом с прямоугольной или круглой пластиной. Именно к ней и будет привариваться швеллер, если требуется сделать основание под кладку, или вертикальные стержни арматуры, если дом каркасный и к сваям будет крепиться горизонтальная обвязка из бруса:
Размер оголовков подбирается в зависимости от диаметра ствола сваи, он должен быть немного больше, чтобы свободно надеваться на обрез ствола. Их изготавливают из стали, усиленной четырьмя косынками и покрытой антикоррозионным грунтом.
Оголовок Источник bibliostroy.ru
Установка металлического ростверка Источник bibliostroy.ru
Приваренные к оголовкам арматурные стержни под брусовую обвязку Источник bibliostroy.ru
Выбор типа оголовка, да и его наличие в целом, осуществляется в зависимости от конструктива стен. Без оголовков устраивают основание только под кладку. При этом сваи с двух сторон обвязывают по верхнему периметру швеллером и укладывают на него бетонные балки, либо заливают ростверк по опалубке, замоноличивая в него концы свай. Оба эти варианта показаны на картинке снизу.
Варианты устройства винтового фундамента без использования оголовков Источник sibsvai.ru
- Для возведения каркасного или брусового дома, наличие оголовков обязательно. Они бывают приваренные и съёмные, второй вариант нередко используется при ручном монтаже свай. В любом случае, положение оголовков проверяется по уровню, и если есть отклонения от горизонтали, принимаются меры по устранению перекоса.
- Перед приваркой, по краю ствола сваи и кромке оголовка снимается до металла слой краски и производится зачистка болгаркой. После сваривания швы зачищают от шлака, и, не давая металлу остыть, наносят защитное покрытие.
- Если высота цокольной части винтового фундамента превышает 60 см, либо свайное поле располагается на пересечённой местности и сваи выступают из грунта на разную высоту, для их усиления предусматривается ещё и нижняя обвязка. Этот вариант представлен на фото снизу.
Винтовой фундамент с нижней обвязкой Источник fazenda.guru
Проводим вычисления
Чтобы правильно рассчитать расстояние между сваями для вашего каркасного дома, наглядно рассмотрим, как их проводить, на примере одноэтажной постройки из деревянного бруса. Его площадь составляет 6х6 м
Вычисляем объем древесины, для этого берем во внимание высоту стен дома с учетом крыши и их толщину. Представим, что у нас получилось 20 000 м3

Далее следует вычислить:
- Полезная нагрузка. 36 м2(площадь дома)*150 кг/м2 = 5,4 тонны.
- Снеговая нагрузка. 36 м2*120 кг/м2 = 4,32 тонны.
Суммируем все три результата и получаем 27,72 тонны. Далее умножаем это число на коэффициент запаса — 1,1. В результате мы получаем 30,492 тонны нагрузки.
В строительстве мы будет использовать сваи с диаметром 8,9 см. Одна такая опора рассчитана на 2 тонны нагрузки. Минимальное количество свай рассчитывается следующим образом: 30,492/2=16. Это минимальное количество свай, которое располагается по периметру здания. Также необходимо установить дополнительные сваи под лаги пола и несущие станы.
Важно! Если здание 2-х этажное, нагрузка умножается на 2. Это обобщенный пример, как проводятся расчеты, но в нем не учитываются индивидуальные особенности местности и самого проекта
Рекомендуется доверить эту работу, как и проектирование здания, профессионалам. Это гарантирует надежность и долговечность фундамента
Это обобщенный пример, как проводятся расчеты, но в нем не учитываются индивидуальные особенности местности и самого проекта. Рекомендуется доверить эту работу, как и проектирование здания, профессионалам. Это гарантирует надежность и долговечность фундамента.
Рассмотрим особенности расчета на примере дома квадратной формы с периметром 8х8.
К другим особенностям строения относятся:
- каркасный тип, крыша из шифера, крыльцо;
- размеры фундамента – 8х8, высота строения – 3 метра;
- в доме 3 комнаты, образованные пересечением сплошной стены длиной 8 метров и перегородки длиной 4 метра;
- каркас изготовлен из бруса 150х150, ростверк – 200х200;
- стены обшиты сендвич-панелями.
Вычисление площади стен:
- наружные – 8*3*4=96 кв. м;
- внутренние – 8*3 4*3=36 кв. м.
Вычисление массы стен при использовании табличных значений для массы 1 кв. м:
- наружные (несущие) – 50*96=4800 кг;
- перегородки – 30*36=1080 кг;
- общая масса – 4800 1080=5880 кг.
Вычисление массы цокольных и чердачных перекрытий при использовании табличных значений для массы 1 кв. м:
- цокольное – 8*8*150=9600 кг;
- чердачное – 8*8*100=6400 кг;
- общая масса – 9600 6400=16000 кг.
Для определения массы дополнительной нагрузки (внутреннего наполнения дома: отделочных материалов, вещей, оборудования) используется табличное значение 350кг/1кв. м. При вычислении нагрузки для двухэтажного дома вес дополнительной нагрузки умножается на 2.
8*8*350=22400 кг.
Вычисление общей нагрузки на фундамент:
16000 22400=38400 кг.
Вычисление количества свай по формуле К=Р*к/S, где:
«Р» – общая нагрузка;
«к» – коэффициент надежности (в примере – 1.4);
«S» – максимальная нагрузка на 1 сваю (это значение опирается на специфику сваи, в примере это – опора с диаметром 300 мм).
Сопротивление грунта определяется спецификой той местности, на которой возводится дом. В примере это грунт со средней плотностью 3 кг. /куб. см., слабым промерзанием 1 метр и глубоким залеганием грунтовых вод.
38400*1.4/2600=20.6
Приведенный пример показывает возможный вариант вычислений. Он не учитывает конкретную специфику отдельного строения, которая может повлиять на конечное количество свай и их размещение в плане фундамента.
Один из главных моментов – отделочные материалы и прочее наполнение дома, составляющее примерно половину нагрузки. Табличное значение отталкивается от усредненного веса материалов. Если используется массивная обшивка, например, плиты гранита или мрамора, кладка камня или кирпича и т. п., показатель общей нагрузки может существенно измениться. В таких обстоятельствах без точного подсчета веса всех элементов, относящихся к дополнительной нагрузке, не обойтись.
Что необходимо учитывать при создании свайного фундамента
Важно учитывать нагрузку дома на основание, свойства почвы, уровень промерзания. А затем можно переходить непосредственно к строительству
- Первым шагом в создании основы является проработка почвы: необходимо снять верхний плодородный слой, удалить корни.

- Далее следует разметка участка. Как правило, для этого применяют веревки и колышки.

- Перед тем, как начать погружать сваю в грунт, удобно выкопать небольшую ямку. Сваю устанавливают вертикально, при этом надо быть очень внимательным: отклонения, даже на сантиметр не допускаются.

- После того, как все сваи будут смонтированы, нужно привести их концы в одно положение, иначе ростверк будет лежать неровно.

- Сваи заливают бетоном.

Подходит ли такое основание для каркасника?
Стены каркасных домов изготовлены из дерева или металла, поэтому сооружения можно отнести к легковесным и малоэтажным конструкциям. Как правило, такие постройки оказывают умеренные нагрузки на грунт, поэтому не смысла возводить дорогостоящие ленточные и плитные основания.
Для участков со сложным рельефом свайный фундамент станет практичным и выгодным с точки зрения стоимости решением.
Какие опоры можно использовать?

Для фундамента под каркасный дом применимы все виды свай:
- Забивные.
- Буронабивные.
- Винтовые.
Забивные опоры представляют собой столбы (деревянные, металлические, железобетонные), которые с помощью специальной техники вводятся в грунт на глубину промерзания земельных масс. Чтобы правильно выбрать тип силовых элементов, необходимо рассчитать проектные нагрузки и сопоставить их несущей способностью грунта.
Вес деревянных каркасных домов позволяет использовать забивные опоры из бруса. Под сооружением со стенами из металла устанавливают металлические или железобетонные конструкции с небольшим диаметром.
Технология закладки буронабивных свай доступна для домашнего домостроения. Монтаж усложняется необходимостью бурения скважин в почве, а также сбора армирующего каркаса. Под одноэтажные каркасные постройки из дерева можно заложить фундамент без армирования, но срок службы конструкции будет значительно ниже.Вкручивание винтовых свай (металлических и железобетонных) – быстрый способ возведения фундамента для каркасного дома. Столбы из железобетона отличаются повышенной прочностью и большой несущей способностью, поэтому их применение целесообразно только в случае с постройками в несколько этажей. В свою очередь металлические винтовые сваи можно быстро вкрутить ручным способом, при этом допустимые нагрузки фундамента позволяют силовой конструкции удерживать вес каркасного дома в течение 50–100 лет.
Плюсы и минусы
Преимущества технологии с использованием отдельных опорных элементов:
- дешевле ленточных и плитных оснований;
- подходят для большинства типов грунта, кроме скальных пород;
- эффективны при строительстве на переувлажненной почве и на участках со сложным ландшафтом;
- разнообразие технологий позволяет выбрать практичный и максимально экономичный метод строительства фундамента.
Недостатки опорных свай:
- перед проектированием необходимо провести ряд сложных расчетов;
- сложно оценить геологические особенности участка с неоднородным составом почвы.
Дом на сваях винтовых – слабые стороны опор
Наряду с достоинствами, фундамент свайно-винтового типа имеет ряд недостатков:
- постепенное разрушение опорных колонн в результате коррозии;
- низкую нагрузочную способность на легких видах грунтов;
- сложность завинчивания элементов в грунт с повышенным содержанием камня;
- необходимость дополнительной антикоррозионной защиты рабочей поверхности;
- невозможность оценить состояние закрученного в почву элемента;
- проблематичность организации подвала в строении на винтовых колоннах;
- необходимость выполнения работ по геодезическим исследованиям грунта;
- уменьшенный до пяти десятков лет срок эксплуатации колонн;
- привлечение проектировщиков для разработки рабочего проекта.
Новости
Это один из весьма интересных и риторических вопросов, поскольку таит в себе неприятный подвох. Предположим вы закручиваете винтовые сваи вручную — сил не хватает. Думаете, что вы погрузили сваю на достаточную глубину? Увы, ошибка может стоить просадки фундамента. От подобной ошибки не застраховаться и в случае со спецтехникой, но здесь другая крайность — свая уже уперлась в несущий слой, а техника продолжает крутить сваю дальше. Итог грустен — поврежденная лопасть, такая свая уже не пригодна к эксплуатации.
Советы по погружению винтовых свай
Затраты на строительство фундамента должны включать в себя наличие запасных свай на случай их повреждения при погружении. Такое случается при использовании спецтехники, но и в случае ручного погружения при попадании лопасти на камень или корень возможны проблемы (в таких случаях рекомендуются сваи с литым наконечником). Несколько советов по строительству фундамента в Москве на винтовых сваях:
- -ручное погружение возможно на нужную глубину только для свай диаметром 89 мм включительно. Сваи 108 мм рассчитаны на 2-хэтажный дом, вкрутить их вручную не получится;
- -чем больше плечо лома, вставленного в технологическое отверстие, тем проще закрутить сваю. Оптимальная длина — 2 лома по 3 метра. Свая погружается до тех пор, пока не будет свернуто технологическое отверстие;
- -ручное завинчивание для свайно-винтового фундамента дома категорически не рекомендуется. Сваи для беседок, саун погружаются на минимальную глубину 1,5 метра;
- -при механизированном погружении учитывают два фактора. Опытным путем для определенного типа грунта уже установлено предельное усилие закручивания сваи (эти данные вам предоставит завод-изготовитель). Зная разрез почвы (его получают в соответствующих инстанциях), можно предположить ориентировочную глубину. Возможно применение технологии лидерного бурения — одна свая погружается до упора, пока не произойдет деформация. Фиксируется предельный уровень погружения для данного типа свай.
Глубину погружения сваи можно рассчитать только на основании данных о составе почвы, а также при составлении проекта. Чем выше планируется поднятие дома над уровнем земли, тем глубже нужно погрузить сваю (рекомендуется минимальная пропорция надземной и подземной часть 50/50).
-Совет: определить, повреждена ли лопасть винтовой сваи относительно просто. Во-первых, свая погружается вдоль вертикальной оси — свая с поврежденной лопастью будет всячески уходить в сторону (угол отклонения — 15° и более). Во-вторых, после жесткого упора свая внезапно начнет прокручиваться легко — разрыв сварных швов.
Доверьте строительство фундамента профессионалам! Специалисты ООО «Гермес-ЗСК» гарантируют идеальное качество свайно-винтового фундамента. Мы знаем, как построить фундамент так, чтобы он простоял более полувека! Узнайте больше о нашей специализации и опыте работы — звоните уже сегодня или задавайте вопросы по электронной почте.
ООО «Гермес-ЗСК» — мы всегда открыты для наших клиентов!
Конструкция винтовых свай, их достоинства и недостатки
Винтовые сваи под дом изготавливают из металлических труб. Одному из концов трубы придают коническую форму, на втором — делают отверстия для рычагов, применяемых для ввинчивания сваи в грунт. Нижний конический конец трубы герметически обваривают, к нему крепят лопасти. В комплект поставки входят оголовки для крепления балок обвязки фундамента (ростверка). Поверхности покрывают антикоррозийными составами.
Применение винтовых свай дает следующие преимущества по сравнению со столбчатыми и ленточными основаниями:
- Снижение стоимости фундаментов до 30%
- Сокращение сроков строительства до двух дней
- Стены можно возводить сразу после обвязки свай (в случае применения бетонных фундаментов необходимо ждать месяц до полного твердения бетона)
- Возможность строительства на слабых грунтах с высоким уровнем подземных вод, на участках со сложным рельефом
- При ввинчивании свай почва не разрыхляется, а спрессовывается, что повышает его несущую способность, при этом за счет значительной площади поверхности лопастей уменьшается давление на грунт и повышается устойчивость к влиянию сил морозного пучения
- Отсутствие земляных работ
К недостаткам относятся:
- Подверженность металла коррозии при разрушении защитного слоя
- Необходимость тщательного утепления полов
- Трудности, возникающие при строительстве подвала
- Невозможность применения на скальных и каменистых грунтах
Винтовые сваи обладают следующими характеристиками:
- Диаметр — 56 — 325 мм
- Длина — 1,5 — 9 м
- Диаметр лопасти — 250 — 800 мм
- Толщина стенок трубы — 3 — 12 мм
- Срок службы — от 60 лет
Для фундаментов под каркасные дома часто применяют сваи диаметром 108 мм, имеющие следующие характеристики:
- Длина — 2,5 м
- Толщина стенки — 4 мм
- Диаметр лопасти — 30 см
При достаточной нагрузочной способности до (10 тонн) они, в отличие от более толстых свай, могут ввинчиваться в грунт вручную. Установка одной сваи занимает 20 — 35 минут. При необходимости трубы наращивают с помощью муфт, закрепляемых сваркой.
Винтовые сваи можно устанавливать на всех типах грунтов, за исключением скальных. В таком случае стоит выбрать другой фундамент под каркасный дом. Например, ленточный или столбчатый.
Если Вы окончательно решили использовать винтовые сваи, то рекомендуем ознакомиться с отзывами о винтовом фундаменте в этой статье.
Как сделать фундамент своими руками
Рассмотрим процесс самостоятельного сооружения фундамента под каркасный домик в виде бетонных столбов. Для этого потребуется садовый бур диаметром 200 мм, которым бурятся скважины глубиною 1-1,2 м. Места скважин:
- под углами здания;
- под пересечением стен;
- в промежутках через каждые 1,5-3 м.
В скважины засыпается щебень мелкой фракции или крупнозернистый песок. Подушка обязательно утрамбовывается. Отдельно готовится арматурный каркас в каждую скважину. Обычно для этого используют стальную арматуру диаметром 10-12 мм и катанку 6 мм. Арматура – это продольные элементы. Их обычно три или четыре в каждом армокаркасе. То есть конструкция может быть треугольного или квадратного сечения. Катанка – это поперечные элементы. Все соединения производятся электросваркой.
Предварительно в скважины устанавливается рубероид, скрученный в цилиндры. Это гидроизоляция будущих опор. Можно для этого использовать пластиковые или асбестовые трубы. Далее внутрь устанавливают подготовленные арматурные каркасы.
Следующий этап – заливка бетона. Его рецептура классическая для фундаментов: 1 часть цемента, две части песка, три части щебня. Залитый бетонный раствор обязательно утрамбовывается. Задача этой операции – выдавить из смеси попавший внутрь воздух. После высыхания воздушные пузыри снизят прочность столбов, поэтому от них надо обязательно избавиться.
Обычно опоры возводят с небольшим возвышением над грунтом – 10-20 см. Поэтому трубы под заливку бетона устанавливают именно с учетом этого размера. Обычно в бетонный раствор, залитый в опоры, устанавливают закладную металлическую деталь. Крепят ее к армокаркасу. К ней в будущем будет крепиться нижняя обвязка каркаса дома.
Через 28 дней, когда бетон наберет свою прочность. Можно переходить к возведению каркасника.
Винтовые сваи и необходимая глубина их погружения
В общем виде, винтовая свая представляет собой стальную трубу определенной длины, которая имеет заостренный наконечник и приваренный на протяжении трубы спиралевидный участок. Последний предназначен для перемещения грунта на поверхность и служит основой для ввинчивания конструкции. Характеристики лопастей играют важную роль для вкручивания опор.
Винтовые конструкции отличаются большим разнообразием и могут применяться для любых типов грунтов. Их можно монтировать как вручную, так и с привлечением специальной техники.
Погружение выполняет плавно и начинается со снятия (или прохождения) растительного горизонта. Глубина вкручивания винтовых свай устанавливается с небольшим запасом прочности для обеспечения достаточной несущей способности. Минимальная глубина погружения сваи должна соответствовать глубине промерзания почвы в зоне строительства фундамента. Соответствующий показатель можно взять в СНиП 23-01-99. Например, в южных регионах (Белгород, Воронеж) глубина промерзания составляет примерно 1 м, в то время, как в северных может быть более 2,4 м. Следует помнить, что глубина промерзания песчаников выше, чем у глинистых почв.
Основное правило строительства свайного основания: чем глубже ввинчена свая, тем надежнее фундамент.
Диапазон параметров винтовых свай может различаться в широких пределах. При выборе ствола для строительства фундамента для дома, обычно выбирают сваю диаметром от 57 до 325 мм. При этом, толщина стенки обычно составляет от 2 до 5 мм. Длина опоры варьируется от 1,5 до 12 м. винтовые сваи выдерживают высокие нагрузки на сжатие, а также показывают хорошие значения при напряжении на выдергивание. Для строительства основания опоры более чем выгодны.

Винтовые конструкции
Преимуществами свай в виде винта выделяются следующие:
- Прохождение слабых грунтов и выход на слои достаточной прочности – универсальность строительства в любых условиях.
- Возможность повторного использования опор, что выгодно при строительстве временных сооружений.
- Сохранение почвы и растительности при производстве работ по вкручиванию вручную, без привлечения техники.
- Минимальный шум при выполнении работ.
- Высокая скорость возведения.
- Высокая прочность материала и созданной конструкции.
Экономическая выгода при высокой прочности служат главными причинами использования винтовых свай. Кроме того, в отдельных ситуациях такая технология единственная из доступных.
Домик на сваях – достоинства винтовых опор
Решив построить домик на сваях, разберитесь с преимуществами данных опор и их слабыми местами. Дом на сваях обладает следующими достоинствами:
- не требователен к почве. Он может строиться при повышенной концентрации глины и песка в почве, а также на влажных грунтах и плывунах;
- не зависит от влияния природных факторов. Сохраняет устойчивость при температурных колебаниях, морозном пучении грунта, усадке и эрозии почвы;
- требует малых денежных расходов, связанных со строительством фундамента. Свайное поле из опорных элементов – бюджетное решение;
- возводится за короткое время. После монтажа свайных элементов, установка которых займет не более 2 дней, можно начинать постройку;
- может строиться в любое время года. Технология погружения в грунт винтовых опор позволяет выполнять работы в любых погодных условиях;
- низкой трудоемкостью. Конструкция свайного фундамента позволяет возвести его самостоятельно без применения специальной строительной техники;
- может возводиться возле имеющегося здания. При этом исключается возможность усадки и отрицательного влияния рядом расположенных строений.
К несомненным преимуществам колонн также относятся:
- возможность демонтажа опорных элементов и применения их повторно;
- отсутствие усадки, позволяющее значительно ускорить строительный цикл;
- простота технологии, не требующая специальной строительной подготовки.
Конструкция этого основания предоставляет возможность строить дома в условиях наклонного рельефа, а также при отсутствии подъездных путей для крупной строительной техники.
Материал для изготовления опор применяют в зависимости от вида грунта
Как вкрутить винтовые сваи вручную?
В комплекте свай должна быть инструкция с иллюстрациями и технологическая карта. Если коротко, то сначала необходима планировка и разметка участка. В обозначенных кольями местах пробуривают лунки, устанавливают и выравнивают уровнем сваи. Лишнее срезают болгаркой. Заливают внутрь бетон (соотношение песка и цемента – 4: 1) и закрепляют оголовки. Последний этап – монтаж ростверка (деревянный брус, швеллер, ж/б).
Винтовую сваю надо вкручивать так, чтобы лопасть полностью погрузилась в непромерзающий грунт. При этом учитывают глубину промерзающего слоя и размеры части сваи с лопастями. Вкручивать сваю надо равномерно, постоянно отслеживая отклонения. Серьезная погрешность (на 2 градуса и более) приводит к необходимости выкручивания сваи с перемещением ее в другое место.
Идеальный шаг между опорами
Шаг винтовых свай, установленных под каркасный дом, составляет до 3 м. Чаще всего эта цифра уменьшается до 1-1,5 м между опорами. На это влияют особенности почвы, массы и предназначения строения. Рассчитывать расстояние между сваями для каждого дома необходимо индивидуально.
Важно! Сваи обязательно должны равномерно располагаться по всему строению. Находиться по внешним и внутренним углам, под несущими стенами
Расстояние между сваями также обусловливается длиной ростверка, так как он должен обоими концами ложиться на оголовок опоры. Это не берется в учет, только если монтируется бетонный ростверк.
Немного сложнее рассчитывать размещение опор для плитного фундамента. Как правило, для этого используется специальная проектная документация. Но принцип размещения опор не меняется: их располагают под несущими стенами и колоннами каркасника.
Преимущества винтовых свай
В отношении веса каркасных домов железобетонные винтовые сваи обладают избыточной несущей способностью, поэтому нецелесообразно переплачивать за дорогие конструктивные элементы и аренду оборудования для их вкручивания. Металлические винтовые сваи намного проще в монтаже и способны удерживать вес каркасного сооружения.

Положительные характеристики винтовых свай, которые обуславливают их широкое применение для строительства каркасных домов:
- Дешевизна.
- Простой монтаж.
- Быстрое возведение.
- Разнообразие моделей.
- Достаточная несущая способность.
- Ремонтопригодность.
- Возможность строительства на склонах.
Какие выбрать?
В зависимости от геологических условий и особенностей проектной конструкции выбирают модель винтовых свай. Определяющие характеристики опорных элементов:
- ширина лопасти;
- диаметр столба;
- длина трубы;
- тип наконечника;
- толщина металла.
Для каркасных домов с несущей нагрузкой 5–9 т используют винтовые сваи диаметром 108 мм и толщиной трубы 4-5 мм. Вес построек в несколько этажей может достигать 14 т, тогда выбирают стержни с размером сечения – 133 мм. В большинстве случаев подходят сваи со стандартным размером лопастей – 250–300 мм.
Как рассчитать?
На какую глубину закручивать винтовые сваи? Минимальная глубина закладывания свай рассчитывается исходя из уровня промерзания почвы. При этом наконечник опоры должен упираться в твердый несущий пласт. Для этого на этапе геологических исследований анализируют состав почвы и высоту слоев.
Например, в преобладающей части московского региона глубина промерзания грунта равна 1,5 м, тогда как в северных – этот показатель составляет 2,4 м. Это значение принимается за глубину фундамента.

Высота свай рассчитывается исходя из таких показателей, как:
- высота снежного покрова зимой;
- температурный режим в помещении;
- уровень подземных источников;
- вероятность подтопления;
- тип рельефа на участке.
Минимальна высота свай – 20 см, но на практике этот показатель редко опускают ниже 30 см. уровень цоколя подбирают индивидуально в зависимости от исходных условий.
Определяясь с моделью силового элемента, выбирают сваи с запасом по длине минимум в 0,5 м, чтобы было удобно выровнять высоту фундамента по горизонтали. Чаще всего для строительства каркасных домов используют стандартный типоразмер опор – 108х300х2500 мм.
Как рассчитать расстояние между сваями? Шаг между ближайшими силовыми элементами рассчитывают, основываясь на потребности в опорах. Сваи обязательно устанавливают в местах, где сооружение оказывает максимальную нагрузку на почву: под углами и точками пересечения несущих стен.
Если расстояние между столбами превышает 3 м, то посередине устанавливают промежуточные опоры. Рекомендованный шаг для винтовых свай – 1,5–2,5 м.
Влияние опорного слоя
Установка дома на винтовые, буронабивные, забивные столбы преследует цель, кроме распределения нагрузки, достичь более плотных слоев, на которые можно опереться. Самостоятельно можно вырыть пробные шахты на участке для определения глубины их залегания. Количество – не менее 2. Если пласт наклонный, уступами, надо больше для ясности картины.
Характеристики почв при расчете по нагрузке берут в справочнике. При сложном сочетании условий выполняют анализ контрольной сваи.
Тип и способ установки влияют на количество точек опоры фундамента площадью распределения нагрузки. Висячие элементы работают по боковой поверхности. Винтовые трубы создают уплотнение материала под собой. Буронабивные опоры имеют подошву шире колонны.
Все они проходят ниже уровня промерзания, чтобы создать устойчивость к движению верхних слоев земли при пучении.
Оптимальное значение
Однозначно указать оптимальное расстояние между соседними сваями винтового фундамента очень сложно. Необходимо учитывать массу специфических факторов, свойственных только данному участку, постройке и прочим условиям строительства и эксплуатации.
Однако, существуют определенные пределы, ограничивающие минимум и максимум шага между винтовыми опорами. По логике, оптимальным расстоянием должно быть среднее значение, однако в реальности ситуация выглядит несколько иначе.
По результатам экспериментов и практических испытаний выявлено, что оптимальным расстоянием является 2 м. Это значение подходит практически ко всем видам и типоразмерам свай, используемых в индивидуальном строительстве.
Оптимальное значение не должно использоваться как некое универсальное число, подходящее в любом случае. Каждый проект должен рассчитываться в индивидуальном порядке.

Этапы возведения свайного фундамента пошагово
Геологическая разведка и проектирование фундамента. Этот этап очень важен, т.к. типы грунта влияют на устойчивость фундамента. Также от выбора свай и метода монтажа зависит как ровно и надежно будет стоять дом.

Главным моментом считается расчёт нагрузки здания. От всех этих показателей зависит число, глубина и метод расположения свай. Если вы не хотите тратить денежные средства на специалистов, проконсультируйтесь с жителями данной местности о том, как высоко поднимаются грунтовые воды, какова толщина промерзания, из каких пород большей частью грунт.


Очистка территории. Очистите территорию, под будущий фундамент от деревьев, кустов, снимите дерн.

Разметка. Сделайте разметку с помощью деревянных колышек и натянутой верёвки, будьте внимательны, иначе перекоса конструкции не избежать.

Бурение скважины, армирование, изоляция и заливка бетоном. Возможность сделать данный этап вручную предполагает покупку бура (бывает до 300 мм). Сделать данный этап под силу даже не опытному строителю, но всё же если ширина отверстия требуется более 600 мм, воспользуйтесь электрическим буром.

Далее следует приготовить изоляцию из рубероида, по ширине скважины (рубероид нужен для того, чтобы соприкосновение бетона и земли было минимальным), в высоту плюс 30 см над землей. Если на дне ямы появилась вода, её лучше выкачать.

Для армирования вставьте 3 прута толщиной 6 мм, с поперечными соединениями на расстоянии 50 см. Для присоединения ростверка к столбам оставляют 30 см выше заливаемого изделия.

Заливать бетоном рекомендуется на половину, потом сделать уплотнение вибратором и продолжить заливку. Т.е. свайный фундамент в разрезе, выглядит следующим образом: гидроизоляция – бетон – арматура – бетон – гидроизоляция.

Завинчивание свай и заливка бетоном. Конструкцию углубляют в землю, в верхнюю часть вставляют 2 трубы, которые служат рычагами поворота. Контролируйте строго вертикальное вхождение трубы, от этого зависит устойчивость конструкции.


Монтаж обвязки, ростверка. Ростверк бывает ленточной и плиточной. Ленточный состоит из металлических (швеллер), железобетонных или древесных балок, расположенных по периметру, а также под несущими стенами. Плиточный используется, когда сваи расположены равномерно по всей площади будущего дома.

Фундамент это основа будущего строения, от устойчивости и надежности зависит срок эксплуатации. Подойдите к этому вопросу со всей серьезностью. Осуществив основательную подготовку, вы узнаете как правильно рассчитать свайный фундамент и как создать нужную постройку приложив минимальные трудозатраты.

Виды свай по методу погружения в грунт
Забивные и буроопускные серьезные дорогостоящие конструкции, применяются в основном для многоэтажных домов. Их углубляют специальной техникой молот, виброзабиванием. Преимущества такого погружения в отсутствии подготовки почвы. Для частного строительства, малоэтажных домов не целесообразно использовать такие методы.

Винтовые. Самый распространенный и часто встречающийся тип свай для загородных домов. Они имеют форму самореза, с лопастями на нижней части, используются как полыми, так и залитые бетоном.


Буронабивные. В земле делаются скважины, укрепляются арматурой и заливаются бетоном. Допускается изоляция стенок разными материалами (рубероид, пленка), а также усиление обсадкой из камня. Ещё одно название такого фундамента – столбчатый.

Комбинированные. Самый долговечный фундамент, т.к. разные материалы имею разные сроки порчи.

Расчёт стоимости свайного фундамента
Для правильного расчета необходимо учесть следующие факторы:
- несущую способность сваи;
- расстояние между опорами;
- диаметр и длину столбов;
- вес дома.
6х6
Такие небольшие домики давно пользуются популярностью: они быстро монтируются и стоят недорого. Для строительства такого фундамента понадобится около 9 свай (длиной 2500 мм и диаметром 108 мм). В основном ценник колеблется в пределах 25-40 тысяч рублей вместе с ценой за монтаж.
6х8
Цена фундамента будет составлять около 35 тысяч. Эта сумма складывается из стоимости 12 свай (длина 2500 мм и диаметр 108 мм), а также работ по монтажу. Стоимость может отличаться, если будут использоваться более длинные сваи. Прежде чем приобретать сваи, нужно проанализировать почву.
8х8
Это основа достаточно просторного дома, пригодного для жилья целой семьи. Для строительства нужно 16 свай. Цена такой работы составляет от 49 тысяч рублей.
В любом случае, для точного расчета лучше обратиться к специалисту. Учтите и факт того, что не все типы оснований можно смонтировать самостоятельно.





































