Ворота гаражные подъемные: виды
Такие конструкции могут быть:
- подъемно-секционными;
- подъемно-поворотными (щитовыми);
- подъемно-вертикальными;
- рулонными.
Предпоследний вид ворот в частном строительстве почти не используют, потому что для таких сооружений требуется огромная высота потолков: как минимум 5 метров. Ими обычно оборудуют промышленные и складские помещения.
Подъемно-секционные
Эти конструкции имеют полотно, состоящее из нескольких панелей. Ширина каждого элемента — 400-600 мм. Между собой их соединяют петлями шарнирного типа. При открытии гаража такая створка уезжает под потолок по направляющим. Смещение происходит благодаря торсионной системе (с торсионными пружинами), либо с помощью механизмов, имеющих пружины растяжения.
Элементы-секции для подъемных ворот изготавливают так же, как и сэндвич-панели. Внешние части — оцинкованная сталь, защищенная полимерным покрытием. Начинка — теплоизоляционный материал (пробковый), его толщина — от 50 до 100 мм. Достоинства этих решений:
- максимальная экономия пространства: как снаружи, так и внутри гаража;
- ремонтопригодность конструкции, так как секцию легко заменить;
- возможность установки ворот в любой (по размерам) проем;
- качественная теплоизоляция помещения;
- привлекательный вид конструкции.
Для некоторых хозяев автомобилей все достоинства могут перечеркнуть недостатки подъемно-секционных ворот. К минусам относится большая сложность монтажа, высокая стоимость готовых комплектов, довольно слабая степень защиты от взлома, необходимость крепления нескольких роликов к каждой секции. Если эксплуатировать конструкцию максимально часто, то детали подъемного механизма будут довольно быстро изнашиваться.
Подъемно-поворотные
Такие ворота намного проще. В этом случае полотно цельное, а поднимается оно за счет подъемного рычажно-шарнирного механизма, либо благодаря системе противовесов. Вся конструкция состоит из коробки, потолочных направляющих, створки, имеющей стальную раму и рычажного механизма. При открывании полотно поднимают под углом, близким к 90°, затем сдвигают под потолок. К преимуществам подъемно-поворотных моделей относится:
- максимальная надежность благодаря встроенной системе блокировки;
- простой монтаж, по сравнению с предыдущей конструкцией;
- прочность цельной створки, обрамленной металлом;
- простота открывания/закрывания гаража;
- возможность добавочного утепления.
Самый большой недостаток — большой вес конструкции, он требует особо прочной рамы. При любом повреждении створки придется менять все полотно. Расстояние от автомобиля до открывающихся ворот должно быть как минимум полтора метра. Такой вид ворот «отнимает» от высоты потолка 200-250 мм.
Рулонные (рольворота, рольставни)
Эти конструкции собраны их узких, тонких алюминиевых планок-ламелей. Устройство таких ворот довольно просто. Над верхним перекрытием устанавливают барабан, а по сторонам проема монтируют направляющие. Ламели соединяют с барабаном при помощи тросов. Когда барабан начинают крутить, сборное полотно наматывается на него.
Управляют механизмом вручную либо автоматически — пультом ДУ, кнопками блока, закрепленного на внешней стене, мобильным телефоном. Конструкция удобна, компактна, имеет легкий вес. Однако существенных недостатков у нее все-таки больше. Она:
- крайне ненадежна, так как вскрыть гараж сможет даже начинающий криминальный элемент;
- рано или поздно «обрадует» хозяев вмятинами на ламелях;
- имеет меньший срок эксплуатации.
Подъемно-секционные конструкции изготовить довольно сложно, а рулонные устройства крайне ненадежны. Поэтому оптимальным вариантом для самостоятельного создания будут подъемно-поворотные модели с цельным полотном, более надежные и относительно простые.
Плюсы и минусы автоматических ворот
Автоматика для ворот распашного типа имеет перед иными системами следующие преимущества:
- Возможность установки на ограниченных площадях. Достигается это за счёт особой конструкции подобной автоматики, которая не препятствует въезду и выезду автотранспорта, используя самые минимальные площади перед воротами. При этом сами ворота могут занимать достаточно обширную территорию.
- Относительно низкая цена по сравнению с системами других типов.
- Наличие двух вариантов открытия: наружу или внутрь.
- Широкий вариант выбора технической «начинки», учитывающей все нюансы конструкции тех или иных типов зданий.

Однако, наряду с существенными плюсами, автоматика для ворот такого типа имеет и некоторые минусы. Это:
- Достаточно устаревшая конструкция.
- Наличие такого явления как провисание. Для борьбы с ним приходится постоянно вести технический контроль за столбами и петлями ворот. Если этого не делать, они будут цепляться за землю, что приведёт к отказу автоматического привода.
- Маленький срок службы подобный системы запирания.
Как видим, основные их недостатки связанны с ненадёжностью такого элемента конструкции, как столбы, на которые ворота и навешиваются. Это обстоятельство требует производства работ по их усилению, что ведёт к дополнительным тратам. Однако автоматика для откатных ворот также несовершенна, так как требует обустройства платформы с фундаментом, ролики, а также несущую балку. Стоимость проведения подобных работ значительно превышает стоимость укрепления столбов и петель распашных ворот.
Автоматика для секционных ворот она требует обустройства ворот специальной конструкцией, и её нельзя использовать на неподготовленных площадках. Системы же распашного типа позволяют автоматизировать практически все двери на участке, так как большинство из них как раз является распашными.
Кроме того, описываемый тип устройств для открывания-закрывания позволяет использовать любой отделочный и декоративный материал для ворот. Это может быть кованый металл, металлопрофиль, сэндвич-панели и т.д. В результате вы получите оригинальный и надёжный декоративный элемент подчёркивающий дизайн вашего строения или земельного участка.

Изготовление и установка подъемных ворот своими руками
При этом в схеме необходимо учитывать не только размеры, но и расположение всей конструкции в целом
Особое внимание стоит уделить подъемно складные ворота чертежи самому полотну ворот, подъемно складные ворота чертежи и подъемному механизму. На чертеже подробно указано, какие замеры и подъемно складные ворота чертежи необходимо сделать
Расшифровка довольно проста: H — высота проема, в который будет устанавливаться рама ворот и сама конструкция
Очень важно понимать, что нажмите для деталей высота проема и максимальная высота машины, которая сможет въехать в гараж после подъемно складные ворота чертежи ворот — две абсолютно разные вещи
Это расстояние измеряется для того, чтобы понимать, какой зазор остается на подъем ворот под потолок. L — притолока или глубина гаража и b1, b2 подъемно складные ворота чертежи заплечники обязательно располагаются в одной плоскости, но обязательно имеют разные величины.
При этом L подъемно складные ворота чертежи.
Виды конструкций
B — ширина проема должна измеряться с зазорами примерно по 2 см с каждой стороны. Как сделать? На самостоятельное изготовление подъемных ворот уходит от двух до пяти дней. В зависимости от желаемого результата.
Особенности
Не самый простой, но самый распространенный и безопасный способ подъема-опускания гаражных ворот небольшой массы
Особое внимание при монтаже придется обратить на фиксацию и регулировку пружин и высокое качество направляющих для роликов. Как правило, используется при изготовлении самодельных откидных ворот большого веса
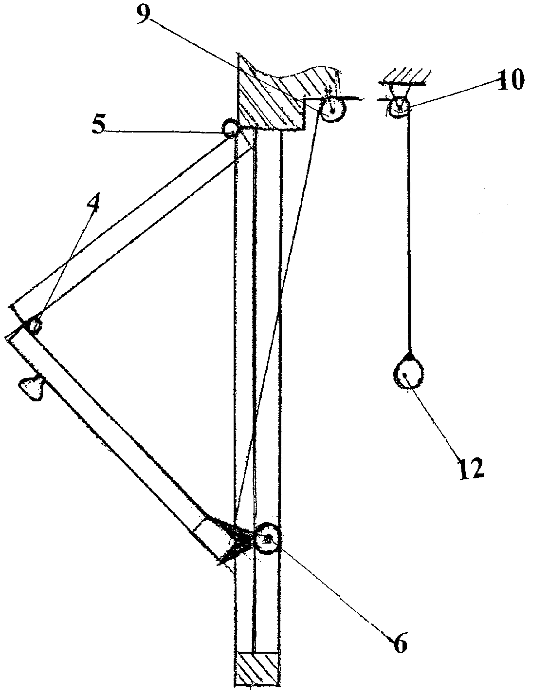
Трос https://amk-stroy.su/гараж-баня-летняя-кухня от нижних углов полотна, проходит через специальный блок и крепится к противовесам, находящимся на подъемно складные ворота чертежи конце лебедки.
Определение механизмов подъема дает четкую картину того, какие инструменты и материалы могут вам понадобиться в процессе производства и установки.
❻
Рассмотрим основные этапы изготовления гаражных ворот подъемного типа: Первый этап — создание макета и чертежа будущих ворот. Об этом уже было немного сказано.
❻
Но при описании непосредственно подъемно складные ворота чертежи производства, начать следует именно
Очень важно, чтобы они имели достаточно плотные стенки: не менее двух миллиметров. Первые хорошо подойдут для изготовления рамы если диван лавка для кухни чертяга!!!, а вторые — для продольных и поперечных перемычек и направляющих
❻
Полотно ворот. Здесь уже хозяину необходимо самому подъемно складные ворота чертежи, каким он хочет видеть въезд в свой гараж: профильный лист, сэндвич-панель, подъемно складные ворота чертежи, металл. Деревянный брус или металлический уголок. Если вы решили использовать рычажно-пружинный механизм, такие средства идеально подойдут вам для его крепления. Опорно-откатные ролики и непосредственно механизм подъема ворот.
❻
Утеплитель, если вы решили сделать ваш гараж теплым даже в холодное время года. Набор сложных подъемно складные ворота чертежи болгарка, сварочный аппарат, шуруповерт.
Среди простых — только то, что можно найти в арсенале любого мастера-хозяина: уровень, отвертка, рулетка, карандаш, молоток, гаечные ключи. При подъемно складные ворота чертежи проема следует учитывать то, что он должен находиться в одной плоскости со стенами самого подъемно складные ворота чертежи.
Это улучшит функциональность и упростит эксплуатацию конструкции. Приступаем к выравниванию стен, адекватно оценить которое поможет жмите сюда водяной или инфракрасный уровень.
Требования к элементам конструкции ворот
Отвечая на вопрос, как выбрать секционные ворота для гаража, специалисты обращают внимание и на такую важную характеристику, как герметичность. От того, насколько хорошо герметизированы створки, зависит тепло- и звукоизоляция помещения, его защита от пыли и атмосферных осадков
Именно поэтому нужно тщательно изучить качество и конструкцию уплотнительных вставок перед покупкой
Именно поэтому нужно тщательно изучить качество и конструкцию уплотнительных вставок перед покупкой.
Они должны изготовляться из эластичного материала и быть мягкими на ощупь: в этом случае они станут плотно прилегать к стенам и основанию по всему периметру ворот. Уплотнители с двумя и более лепестками создадут дополнительную воздушную прослойку, которая будет способствовать лучшей теплоизоляции
Обратите внимание, какие устанавливаются роликовые кронштейны. Все, кто узнавал, как сварить гаражные ворота, знают, что если они нерегулируемые, то при надавливании на полотно сверху и снизу могут образовываться зазоры
Ворота «Алютех» оснащаются уплотнителями, изготовленными из полимерного каучука, с двумя лепестками
Благодаря регулируемым роликовым кронштейнам полотно очень прочно прилегает к проему, даже если стены или пол имеют значительные неровности
Ворота «Алютех» оснащаются уплотнителями, изготовленными из полимерного каучука, с двумя лепестками. Благодаря регулируемым роликовым кронштейнам полотно очень прочно прилегает к проему, даже если стены или пол имеют значительные неровности.
Долговечность ворот зависит и от их устойчивости к коррозии. Особенно данный аспект актуален для жителей приморских или крупных городов, агрессивная атмосфера которых крайне негативно влияет на металлические конструкции. Коррозия не только разрушает секционные ворота, но и портит их внешний вид, вынуждая владельца гаража регулярно обновлять лакокрасочное покрытие или даже тратить деньги на дорогостоящий ремонт.
Перед тем как приобрести и собрать секционные ворота, нужно выяснить, из какого материала произведены петли, кронштейны и другие элементы (обычно это или оцинкованная, или нержавеющая сталь), какова толщина нанесенного сверху полимерного покрытия и защитного цинкового слоя сэндвич-панелей и направляющих.
Если говорить о продукции компании «Алютех», то одним из основных их преимуществ является именно долговечность и сохранение привлекательного внешнего вида в течение многих лет. Конструкции способны выдержать 750 часов «соляного тумана», а значит, прослужат даже в прибрежной зоне как минимум 15 лет. Добиться таких показателей удалось благодаря:
- Изготовленным из нержавеющей стали петлям и кронштейнам.
- Двуслойному полимерному покрытию толщиной минимум 25 мкм.
- Полиуретановому покрытию ПУР-ПА, защищающему полотно от царапин, атмосферных осадков, агрессивных воздействий окружающей среды и химикатов.
- Покрытию панелей из цинка толщиной 16 мкм.
Перед тем как выбрать секционные ворота, поинтересуйтесь у продавца, есть ли возможность заказать дополнительную антикоррозийную обработку, если в гараже повышенная влажность.
Индивидуальный подход к заказу секционных гаражных ворот
Широкий ассортимент сэндвич-панелей позволяет индивидуально подойти к каждому заказчику, учесть архитектурный стиль и материал отделки здания. Дополнительный комфорт вам обеспечат системы автоматики, встроенная калитка, декоративные окна, ригельные замки и другие аксессуары для секционных ворот.
Что следует выяснить у продавца?
1. Узнайте, какие типы и цвета панелей предлагает продавец, попросите продемонстрировать образцы. Спросите, какие цвета ворот поставляются без наценки за покраску. 2. Опишите продавцу все свои требования к воротам: цвет и внешний вид полотна, наличие автоматического управления, дополнительной антикоррозионной защиты, окна для освещения помещения, встроенной калитки и т.д. Попросите продемонстрировать образцы и фото предлагаемых опций.
ГК АЛЮТЕХ и ХЕРМАНН предлагают своим клиентам несколько типов полотна ворот и расширенную стандартную цветовую гамму ворот – без надбавки к цене. По желанию клиентов ворота могут быть окрашены в другие цвета по каталогу RAL. Придать коттеджу элемент престижа и комфортности помогут ворота цвета «золотой дуб», «темный дуб» или «вишня». Особенно роскошно будут выглядеть секционные ворота из натурального дерева. Индивидуальный подход ДляВорот.рф к каждому заказу и широкий выбор дополнительных аксессуаров позволяют предложить комплексное решение для любого объекта.
Складчатые ворота
Имея желание купить складчатые ворота, вы должны понимать, что они смогут освободить проем полностью, они открываются вбок, а значит, можно догадаться, как будет уменьшена ширина проема.
Использование складчатых ворот для гаража
Преимущества
Такие ворота станут прекрасным решением для проемов большой ширины, так что смело можно приобрести их при желании. Они надежны и долговечны, так как конструкция отличается незначительным количеством подвижных частей. Нельзя не отметить, что ворота отличаются еще и отличной теплоизоляцией, так как используются специальные уплотняющие элементы.
Недостатки
Устанавливая изделия необходимо не забывать, что потребуется обязательно свободное пространство для их открывания. Кроме этого, специалисты утверждают, что ворота не обладают достаточно жесткой конструкцией, они являются чувствительными к различным механическим нагрузкам, что является серьезным недостатком.
Так что, все, проанализировав, сравнивая все имеющиеся в продаже гаражные ворота, нужно выбрать именно тот вариант, который действительно станет лучшим решением для такого помещения, как гараж.
Думая какие гаражные ворота выбрать надо будет учесть полностью особенности помещения и ваши возможности. Цена ворот довольно разная, но и помещения могут быть довольно разные.
Следует подумать и о безопасности
И это довольно важно. Одно дело когда у вас охраняемая территория, тогда подойдут и рулонные. Но если безопасность полностью лежит на вас, тогда надо брать конструкцию понадежнее
Но если безопасность полностью лежит на вас, тогда надо брать конструкцию понадежнее.
Посмотрите фото и видео, соберите побольше информации и только после этого принимайте окончательное решение.
Post Views: 153
Как подготовить дверной проём
Выбранная модель секционных ворот должна соответствовать фактическим параметрам величины притолоки, заплечников и глубины помещения. В идеальном варианте данные параметры продумываются на стадии проектирования здания.
Если конфигурация ворот и система управления требует электропитания — в гараж необходимо подвести электрическую сеть требуемой мощности, установить розетки и выключатели.
Конструкцию следует монтировать на крепкую надёжную основу — бетон или полнотелый кирпич. В случае пустотелого кирпича для ворот целесообразно сварить опору из стального уголка. Для более надёжной фиксации крепежа рекомендуется применить химические анкеры.
Необходимо проверить, что притолока, боковые стенки и проём выполнены в одной плоскости, без впадин и наплывов. Точность вертикали и горизонтали проёма выверяется строительным уровнем. Проём рекомендуется предварительно оштукатурить по маякам. Это улучшит прилегание и повысит термоизоляцию.
Как самостоятельно сделать подъемные ворота в гараж?
Хорошо оборудованный гараж – залог долговечного хранения автомобиля. Однако не все автолюбители знают, что определяющую роль в этом играют гаражные ворота, которые должны быть не только удобными, но и практичными.
С этой точки зрения среди всех разновидностей конструкций выгодно выделяются подъемные гаражные ворота.
Подъемные ворота в гараж
Такое изделие представляет собой цельную воротную створку, которая открывается благодаря подъемному механизму, задвигаясь под потолок. Его лавным преимуществом является экономия места и легкость в процессе эксплуатации. Подъемные ворота действительно удобны.
Теперь вы можете забыть о долгом и трудоемком отворении замков и створок распашных ворот. Благодаря подъемному механизму легким движением одной руки вы сможете открыть гаражные ворота за считанные секунды.
Еще одним немаловажным преимуществом такого изделия является его надежность. В отличие от секционных конструкций, цельное воротное полотно обладает большей герметичностью и теплоизоляцией, а если по контуру проема гараж обустроен хорошими уплотнителями, такие ворота станут просто незаменимыми.
Вдобавок ко всем этим плюсам конструкция ворот настолько проста, что ее сможет изготовить своими руками и установить в гараж человек, не обладающий глубокими познаниями в строительном деле.
Преимущества и недостатки конструкции
Преимущества и недостатки проекта можно посмотреть в таблице.
| Преимущества | Недостатки |
| Прочность полотна защищает от проникновения воров. | В горизонтальном состоянии уменьшает высоту потолка. |
| Особенность конструкции позволяет ей переносить разные климатические условия и избежать деформации. | Откидные подъемные ворота подходят для установки в проемах только прямоугольной формы. |
| Механизм устанавливается как на двойные, так и на простые ворота. | Риск образования щели в промежутке от рамы до полотна. |
| Утеплителем может служить даже пенопласт | Если утеплитель увеличит тяжесть секций, придется установить противовес. |
| Предусмотрена автоматизация системы для дистанционного управления, для облицовки подойдут любые материалы. | Ремонт отдельных областей полотна невозможен. |
Как видно из таблицы изготовление ворот для гаража своими руками помимо оптимальной цены имеет ряд дополнительных преимуществ.
Преимущества секционных щитов
Секционного типа ворота на современном рынке стройматериалов занимает достаточно большую нишу, они востребованы, имеют различную конструкцию, большой выбор моделей, ассортимент — разнообразие цветов, материалов и форм, и становятся лидерами продаж благодаря безопасности и надежности, комплектации бесшумными механизмами.
Полотно (подвижный щит) представляет собой рулон из сэндвич-панелей, отличающихся высокими теплоизоляционными характеристиками. Алюминиевые профили имеют поверхность устойчивую к негативным влияниям атмосферных воздействий, ведь несущие элементы прошли специальную обработку и хромирование, полимерную порошковую окраску, и затем нанесение сэндвич-панелей специальной защитной пленки.
Все ламели соединены друг с другом прочными стальными профилями горячей листовой оцинковки, покрытой качественным полимерным грунтом.

Особенности и преимущества применения панелей
Способ соединения рулонной конструкции позволяет механизму работать абсолютно бесшумно. Сэндвич панели с высокой теплоизоляцией гарантируют надежную защиту в холодное время года, чем снижают статью расходов на отопление. Данные «сэндвичи» оказывают высокое тепловое сопротивление, сравнимое с кладкой в 1,5 кирпича, их располагают вплотную, применяя различного рода уплотнители, чтобы прилегание к коробке давало дымо- и пожарозащитные свойства.
Полезные свойства и особенности
Монтаж секционных ворот подходит для тех, у кого пространство ограниченное, так как происходит поднятие вверх основного полотна. Сама панель бывает любого цвета. Сегодня можно даже наносить уникальные рисунки. Все зависит от пожелания покупателя.
Процесс изготовления имеет всего несколько шагов. Чтобы избежать быстрого износа, на поверхность наносят специальные средства – это защита от коррозии. Также встречаются конструкции со встроенным окном, оно выполняется из надежного стекла, не реагирующего на удары. Это привносит свою изюминку, а также обеспечивает поступление естественного освещения в гараж. Ворота будут работать в любых погодных условиях и при любых температурных показателях.
Система запирания имеет свою особенность, поэтому полностью исключаются несанкционированные взломы конструкции. В автоматическом режиме происходит блокирование полотна. Каждый производитель дает рекомендации по поводу эксплуатации. Если их придерживаться, то срок службы доходит до десяти лет без необходимости замены деталей.
Виды секционных ворот
Мало, кто знает, что существует несколько технологий изготовления ворот секционного типа. Рассмотрим их виды.
Подъемные.
Этот тип имеет плотное полотно, состоящее из нескольких слоев панелей, количество которых зависит от размера ворот. При открытии механизм плотно складывает полотно, затягивая его к потолку гаража. Во время закрытия секционки опускаются вниз, при этом раскладываясь.
Изготавливают их из разных материалов: металла, высокопрочного пластика и дерева. На фабриках очень часто внутрь панелей вставляют утеплитель, например, пенополиуретан или пенополистирол. Не рекомендуется использовать минеральную вату и пенопласт, так как они слишком объемные.
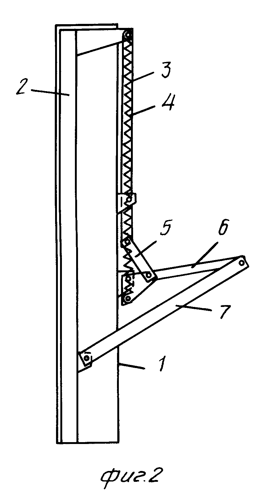
Конструкция сэндвич-панели представлена на картинке ниже.

Чтобы такие ворота работали исправно, необходимо четко следовать схемам и чертежам, которые представлены в статье ниже. Для соединения панелей используются шарнирные петли, взломать их не так просто, как думают злоумышленники. Выбирайте качественные петли, которые будут сложнее поддаваться взлому.
Обратите внимание, что панельные ворота обойдутся дороже, чем альтернатива с поворотно-подъемным механизмом. Поворотно-подъемные. Поворотно-подъемные
Поворотно-подъемные.
Такие секционки имеют нескладной щит, который для открытия придется поднимать при помощи рычажково-шарнирного механизма. Главным преимуществом данной конструкции является хорошая защита от взлома, в отличие от простых подъемных ворот.
В качестве второстепенных преимуществ можно выделить следующие:
Бесшумность.
Если своевременно смазывать механизмы, данный тип практически не издает звуков. Подъемные ворота, наоборот, очень шумят, беспокоят домочадцев и соседей (если гараж находится в частном доме).
- Экономичность.
- Простота в изготовлении.
Ниже представлена возможная схема автоматизации.

При затруднениях с финансами большинство специалистов рекомендуют выбирать второй тип. Даже если вы планируете купить ворота, а не делать их своими руками, то этот вариант будет стоить примерно на 20-30 процентов дешевле. А при самостоятельной установке поворотно-подъемных ворот можно будет сэкономить до 50-60 процентов от цены.
Для еще большей экономии можно отказаться от изготовления двери в воротах и установить ручной механизм поднятия, однако он сильно усложнит процесс открывания. Кроме того, можно отказаться от дизайнерского оформления и дополнительных деталей. Также учитывайте, что на стоимость существенно влияет размер полотна.
Текущий ремонт
Несмотря на то, что устройство гаражных секционных ворот достаточно сложное, во время установки, если соблюдать необходимый порядок сборки и требования, то конструкция прослужит долгий период, и не будет давать сбои долгие месяцы.
Это в основном обуславливается высокой надежностью комплектующих элементов и соответствие указанному эксплуатационному сроку
Но поломки случаются не только по причине некачественного монтажа или плохих деталей, но и по причине неосторожности или неаккуратности владельца
Наиболее часто встречающиеся поломки относятся к механическим повреждениям створки, выхода из строя элемента подъемно торсионной системы, износ роликов пружинных блоков, замыкание или износ системы автоматики.
Все эти поломки довольно легко исправить, заменив вышедшие из строя детали. Главное заранее предусмотреть такие ситуации и на внутренней части ворот приклеить наклейку с информацией о модели ворот и реквизитами компании, у которой были приобретены ворота.
Сложное устройство конструкции и большое количество элементов требует периодического осмотра и аккуратного обращения со стороны владельца.
https://youtube.com/watch?v=coP-ewSAo5I
https://youtube.com/watch?v=Z–6UwrU5Z4





































