Система хранения
В гараже необходимо хранить множество предметов, при помощи которых осуществляется уход за автомобилем. Весь это инвентарь следует расположить так, чтобы в помещении сохранялся порядок, и чтобы ничто не угрожало безопасности автомобиля и находящихся в гараже людей.
Оптимальный вариант организации хранения гаражных принадлежностей – это установка специальных готовых стеллажей. Сегодня можно приобрести стеллажи различных габаритов и комплектаций. Главное предварительно продумать какой именно должна быть система хранения по размеру и количеству полок.

Стеллаж в интерьере гаражаИсточник pinterest.com
Вместо стеллажей можно сделать систему хранения из набора полок, закрепленных на стене. Это вариант подходит только для гаражей с надежными прочными стенами с соответствующей отделкой. При установке полок или стеллажей нужно помнить, что от них до автомобиля должно оставаться расстояние минимум 1 метр.
Полки и стеллажи в интерьере гаража:
Дополнить систему хранения можно перфорированными панелями. Такое оборудование для гаража представляет собой настенные щиты с крючками и креплениями для инструмента, рабочей одежды, шлангов, веревок и многого другого. Если закрепить панель на надежный кронштейн, она станет отличным решением для хранения шин, колес и велосипедов.
Перфорированная панель для гаража:
Смотровая яма
Смотровая яма не обязательно должна быть в гараже. Если автовладелец предпочитает самостоятельно осматривать и ремонтировать свою машину, он может использовать для этого установленную на улице эстакаду. Если же решено делать смотровую яму нужно учитывать несколько важных условий:
- пол и стены ямы должны быть забетонированы;
- края ее нужно усилить металлическими уголками;
- для удобного расположения инструментов, желательно обустроить в стенках ямы ниши-полки;
- стенки ямы следует утеплить при помощи плит пенополистирола;
- яму нужно закрывать крышкой, верхняя грань которой должна быть в один уровень с полом;
- для сбора попавшей в яму воды следует сделать в ее углу дренажную лунку, и накрыть ее решеткой;
- в яме необходимо установить светильники.
Варианты смотровых ям в гаражах:
Как обустроить гараж внутри: планировка, отделка, системы хранения
Отправим материал на почту
Гараж необходим для хранения автотранспорта. Но если его грамотно обустроить, он может стать еще и хранилищем для инструмента и инвентаря, кладовой, мастерской. В этой статье мы расскажем о том, как осуществить обустройство гаража, чтобы он стал удобным многофункциональным помещением со стильным мужским дизайном.
Грамотно обустроенный гараж
Процесс внутреннего обустройства гаражного помещения должен начинаться с разработки планировки гаража. Это нужно для того, чтобы правильно распределить имеющееся пространство. Первым делом, конечно, нужно отметить место для автомобиля. Потом определяется расположение стеллажей для хранения всего необходимого автомобильного инвентаря. Все оставшееся место можно заполнить по своему усмотрению.
На этом же этапе стоит определиться и с цветом отделки. Стены лучше делать светлыми, чтобы гараж не казался слишком тесным. Кроме того, светлые оттенки интерьера позволят сгладить недостатки технического помещения. На фоне светлых поверхностей полки с инструментами и запчастями будут смотреться менее беспорядочным.
Гараж со светлой отделкой
Бюджетное обустройство гаража 3х6
Обустройство гаража 3×6 метров — задача, которая может быть выполнена без значительных затрат, при условии правильного подхода к планированию и выбору материалов.







Список материалов:
- Покрасочные материалы: грунт, краска для стен и потолка.
- Полочные и вешалочные системы для хранения инструментов и различных предметов.
- Рабочий стол и стул.
- Изоляционные материалы (опционально, для улучшения теплоизоляции).
- Осветительные приборы и энергосберегающие лампы.
- Монтажные и строительные инструменты: молоток, отвёртки, дрель и т.д.
- Полы: напольное покрытие (линолеум, ламинат) или краска для бетонного пола (в зависимости от предпочтений).

Избавьтесь от ненужных предметов и мусора, проведите тщательную уборку. Проверьте состояние стен и потолка на наличие трещин и дефектов. При необходимости отремонтируйте их.
Покройте стены и потолок грунтом для улучшения сцепления краски с поверхностью. Нанесите два слоя краски на стены и потолок. Выберите светлые оттенки для лучшей освещенности помещения.

Установите полочные и вешалочные системы для хранения инструментов, автомобильных принадлежностей и других предметов. Разместите рабочий стол в удобном для вас месте, оборудуйте его необходимыми инструментами. Рядом с рабочим столом разместите удобный стул.

Если гараж не оборудован хорошей теплоизоляцией, вы можете уложить дополнительный слой утеплителя или используйте другие изоляционные материалы. Установите энергосберегающие лампы или светодиодные осветительные приборы для обеспечения яркого и экономичного освещения.

Гараж 3 на 6
Небольшое помещение для хранения автомобиля – отличное решение, характеризующееся практичностью, теплоизоляционными свойствами, но имеется отрицательный фактор узость пространства
Внимание. Небольшие помещения легче отапливаются в холодный сезон, для обустройства следует использовать высокие плоские шкафы, органайзеры, что поможет сэкономить часть пространства
На втором этапе необходимо придумать цвет облицовки. Она может быть выполнена в серых, желтых, тоннах, и даже гармонировать с колоритом марки автомобиля. Если помещение, отведенное под гаражную мастерскую – небольшое, рекомендуется визуально комнату расширить, путем выбора светлых оттенков.

Большую комнату лучше окрашивать в темные тона. Средства для отделки нужно выбирать правильно, что зависит от теплоизоляционных характеристик гаража. Это могут быть водоэмульсионная основа, гидроизоляционные составы (битумные композиции), прорезиновые вещества с анти морозными способностями. Последний вариант позволит улучшить теплоизоляционные свойства помещения. Основополагающим моментом является создание отличной проточной вентиляции, токсичный запах бензина должен выходить из помещения. Простые, самодельные, искусственные системы, характеризуются наличием двух отверстий, расположенными с двух сторон, высоко под потолком, на противоположной стороне стены на расстоянии 30 см от пола.

Гараж 6 на 6
Преимущества помещения с большой площадью заключаются в наличии широких возможностей выбрать вариант благоустройства из сотни предложенных модификаций. Важным шагом является расположение металлических или деревянных шкафов, комодов, где будет храниться инструментарий.
Важные аспекты оформления и реконструкции:
• Существует возможность оградить на несколько комнат для хранения гардероба, инвентаря, старой мебели. • Освещение
Внимание, окна, расположенные с южной стороны, позволят сохранить тепло в помещениях, осветлить пространство. • Система полок должна располагаться на расстоянии не менее 1 метра от автомобиля, в противном случае при падении металлического инструмента возможно задев краску, поцарапать покрытие
• Идеальным вариантом является установка перфорированных панелей, где щиты снабжены крючками и креплениями инструментария.


Особенности
Благодаря правильной отделке гаража можно сделать не только уютную обстановку, но и создать такой дизайн помещения, который будет соответствовать направлению его использования. Это может зависеть от многих факторов, например, от того, сколько этажей будет иметь гараж.
Современный рынок представляет огромную возможность выбора материалов для отделки. Их можно приобрести по любой устраивающей человека цене и подобрать тот вариант, который подойдет для отделки помещения.
Полы в гараже должны иметь способность выдерживать очень большие нагрузки
Необходимо обратить особое внимание на отделку стен. Она должна выдерживать любые удары, а также быть устойчивой к разным воздействиям
Обшивку потолка необходимо делать из материала, имеющего стойкость к испарениям.
Ведь в гараже находятся воспламеняемые вещества и есть риск возникновения пожара. Нужно также, чтобы облицовка была стойкой к воздействию химических элементов. Она не должна быть чувствительной влажности и к резким перепадам температур, особенно если помещение не отапливается. Отделочные материалы должны иметь большой срок эксплуатации, а также эстетический вид.
Системы хранения
После отделки второй по важности аспект обустройства — это организация хранения вещей. Очень часто гараж переполнен всевозможными предметами — оборудованием, инструментами для автомобиля, инвентарем для сада и просто старыми вещами, от которых жалко избавиться
Совет: настоятельно рекомендуем провести инвентаризацию всего имеющегося в гараже, выбросить ненужные предметы — так будет легче организовать действительно полезные и необходимые инструменты
Совет: настоятельно рекомендуем провести инвентаризацию всего имеющегося в гараже, выбросить ненужные предметы — так будет легче организовать действительно полезные и необходимые инструменты.
Большая система хранения для гаража.
Очевидно, самый практичный и удобный вариант хранения — это установка стеллажей. Их можно сделать узкими, но широкими и высокими, что идеально подходит для малогабаритных помещений, к примеру 3*6 м.
Изначально рекомендуем спланировать пространство — нарисуйте макет с соблюдением масштаба, нанесите расположение проводок, дверей и окон, место смотровой ямы и место стоянки авто. Отталкиваясь от этого будет легче выбрать место для верстака, а также расположение и количество стеллажей.
Стеллажи из металла и дерева.
Важно определиться с материалом стеллажей. Это может быть металл, дерево или пластик
Конструкции из ПВХ имеют большие преимущества перед прочими материалами — они легкие, прочные (выдерживают до 50 кг), не подвержены коррозии и гниению, долговечны
Если это покупная модульная конструкция, вы сможете менять её комплектацию при необходимости
Конструкции из ПВХ имеют большие преимущества перед прочими материалами — они легкие, прочные (выдерживают до 50 кг), не подвержены коррозии и гниению, долговечны. Если это покупная модульная конструкция, вы сможете менять её комплектацию при необходимости.
Идея: чтобы сократить расходы на обустройство, в гараже вполне возможно использовать домашнюю обычную мебель. К примеру, шкафы, части кухонного гарнитура или модульные стенки, которые внешне устарели, но находятся в хорошем рабочем состоянии.
Чтобы правильно расположить инвентарь, разделите все на такие группы:
Часто используемые предметы, инструменты и оборудование. Их логично расположить на открытых полках, чтобы они всегда были под рукой. Редко используемые предметы. Их размещать лучше либо очень высоко, либо в самых нижних отделениях стеллажа. Мелкие предметы
Очень важно организовать хранение мелких деталей, поскольку именно они создают ощущение хаоса и беспорядка в помещении. Хранение рабочей одежды
Обязательно стоит выделить несколько полочек или вешалок для сменной одежды.. Важно! Расстояние от авто до стеллажей должно составлять около 1 м — это обеспечит свободный проход и доступ ко всем полкам
Читайте на нашем сайте: полки в гараж своими руками
Важно! Расстояние от авто до стеллажей должно составлять около 1 м — это обеспечит свободный проход и доступ ко всем полкам. Читайте на нашем сайте: полки в гараж своими руками
Читайте на нашем сайте: полки в гараж своими руками
Читайте на нашем сайте: полки в гараж своими руками.
Если с расстановкой крупных предметов все довольно понятно, то при хранении мелочей (которых очень много в гараже) могут возникнуть трудности. Для сбережения мелочей можно использовать самые разнообразные и неожиданные системы. На фото ниже мы покажем, как можно просто и красиво сделать обустройство гаража внутри своими руками.
магнитные ленты — помогут в организации разной мелочи из металла (сверла, гайки, болты и пр.). Но если их сильно много, стоит предусмотреть другой вариант;
Магнитные ленты для мелочевки.
пластиковые контейнеры разного размера — именно в них можно хранить все вышеперечисленное, посортировать по размеру и назначению. Контейнеры могут быть размера консервной банки или в виде габаритных пластиковых ящиков; высокие решетки — отлично подходят для хранения узких и длинных элементов, к примеру карнизов, труб, удочек, профилей и пр.;
Металлические сетки для хранения длинных предметов.
вертикальное пространство — внешние части дверок с крючками, перфорированные доски (пегборды) могут превратить в высокофункциональные органайзеры.
Использование вертикального пространства.
кронштейны — позволят хранить такие габаритные предметы, как автомобильные покрышки и раскладную мебель.
Выбираем материалы для обустройства гаража

Как только у вас появился предварительный проект, самое время начинать воплощать его в жизнь. Начать стоит с подбора материалов, ведь именного от них зависит качество и защищенность всей постройки. При выборе материалов непременно следует руководствоваться не их внешним видом, а непосредственно функциональностью.
Гараж – это не гостиная и не отель, поэтому стремиться к какому-то определенному изысканному интерьеру не стоит
При выборе материалов следует обращать внимание на несколько ключевых особенностей. Купленная продукция должна отвечать следующим требованиям:
- безопасность для пользователя и окружающей среды;
- негорючесть;
- устойчивость к коррозии и неблагоприятным погодным условиям;
- высокая прочность и износостойкость;
- неприхотливость в уходе.
Особое внимание уделите потолку и половому покрытию. На потолке можно предусмотреть наличие разнообразных полок для складирования вещей
Также его необходимо утеплить слоем теплоизоляции, чтобы в холодную погоду не мерзнуть в гараже. Однако, слишком толстый слой может привести к образованию конденсата.
Пол в гараже также играет немаловажную роль. Именно на него будут приходиться все нагрузки: вес автомобиля и всего оборудования, расположенного в помещении. На полу будет всегда достаточно много воды, грязи или талого снега в зимний период. А во время ремонтных работ нередкие случаи, когда масло или другая рабочая жидкость капнут на покрытие. По этим причинам пол должен быть устойчивым к коррозии, различным химическим веществам, при этом легко убираться. Самым простым решением является бетонный пол.
Поддержание порядка
Порядок в гараже – немаловажный вопрос, который волнует владельцев личного транспорта. На полки, на которых не избежать рабочего беспорядка, стоит установить ширмочки. Это поможет сделать гараж визуально более аккуратным.
На полках и стеллажах стоит сделать отверстия, предназначенные для сметания мусора. Таким образом, можно добиться вентиляции деревянных установок и снизить риск коррозии на вещах, расположенных на данных конструкциях.
Напольное покрытие гаража должно быть прочным и простым в уходе за ним. Обустраивая его под небольшим уклоном, можно добиться того, что уборка помещения станет максимально легкой и быстрой. Поливая поверхность из шланга, останется ждать, пока грязная вода не стечет сама на улицу.
Придерживаясь советов профессионалов, можно отлично оборудовать гараж, не затратив при этом лишнего времени и средств.
Основные принципы и правила
Обустройство гаража должно в первую очередь быть направлено на функциональность
У большинства автовладельцев гараж одновременно выполняет несколько функций:
- является местом складирования того, что не нужно или не поместилось в квартире;
- мастерской;
- местом отдыха от повседневных забот.
Поэтому в гараже обязательно должны быть три функциональные зоны:
- для автомобиля;
- мини-склада;
- инструментов.
Если владелец планирует изредка ночевать или некоторое время проживать в гараже, потребуется спальное место. Практичные автолюбители обязательно включают его в перечень необходимых функциональных зон и впоследствии неоднократно благодарят себя за предусмотрительность. Комфортное спальное место можно соорудить даже в самом маленьком гараже. О способах реализации этой задачи рассказано ниже.
Планируя местоположение и размеры функциональных зон, рекомендуется ориентироваться на проверенные практикой правила.
- Расстояние от автомобиля до любого элемента обустройства (полок, стеллажей, ящиков, столов) должно быть не менее 1 метра. В противном случае обслуживание машины будет затруднено.
- При строительстве смотровой ямы желательно заложить в бетон тонкую металлическую трубу, для того чтобы впоследствии провести в ней провод и установить на стене розетку.
- Если не подведён водопровод, предусматривают место для умывальника и хранения запасов воды.
- Электрочайник и небольшая электроплита выручат в тех ситуациях, когда придётся надолго задержаться в гараже.
- Электросчётчик желательно спрятать в металлический щиток, что исключит повреждение прибора случайным ударом.
- В целях экономии места рекомендуется устанавливать высокие стеллажи или делать систему навесных полок от пола до потолка. Для того чтобы было удобно доставать вещи, покупают стремянку.
- За пределами гаража можно выкопать септик и подвести к нему смонтированную в помещении систему стоков. Это поможет избавиться от луж при мытье машины.
- На этапе планирования замеряют размеры крупногабаритного оборудования и определяются с геометрическими параметрами полок, стеллажей и проходов.
- Необходимо составить чертёж или набросать эскиз обустройства гаража.
Подсказка по обустройству маленького гаража
Один из наиболее удобных вариантов обустройства небольшого гаража заключается в следующем:
- машину ставят так, чтобы передний бампер находился на расстоянии 30-40 см от задней стенки помещения;
- от левого и правого борта автомобиля отступают в сторону углов помещения по 50 см и отмечают эти точки на стене;
- с помощью пузырькового уровня проводят через них вертикальные линии от пола до потолка.
Так определяют наиболее удобную ширину стеллажей для небольших по размеру гаражей. Эти конструкции (стеллажи) можно соединить несколькими полками, установленными под потолком помещения. Таким образом получают компактную, но весьма вместительную систему хранения вещей и инструментов.
Внутренняя отделка
Пластиковые панели — один из самых подходящих вариантов внутренней отделки гаража
В гараже находятся легковоспламеняющиеся жидкости, часто появляются грязь и пятна от горюче-смазочных материалов. Выполняются сварочные и иные работы, при которых образуются искры.
В связи с этим материалы для внутренней отделки должны отвечать ряду требований:
- Быть влагостойкими.
- Легкомоющимися.
- Прочными.
- Огнестойкими.
- Устойчивыми к воздействию агрессивных сред.
Всеми этими свойствами в той или иной степени обладают:
- керамогранит или прочный кафель;
- штукатурка;
- вагонка;
- профлист.
Создание полезных приспособлений для гаража своими руками
Чтобы осуществлять ремонтные и сервисные работы, потребуется соорудить смотровую яму в гараже своими руками, размеры которой будут соответствовать габаритам авто, а также верстак для удобной работы, плюс снабдить помещение станками.
Основной набор инструментов и материалов для создания самодельного верстака для гаража включает:
- доски и деревянные бруски;
- крепежные элементы и стяжки;
- рубанок и другие инструменты для обработки дерева;
- лакирующий и столярный клеевые составы;
- наждачную бумагу и олифу.

Пример размещения в гараже полезных приспособлений: 1 — верстак с ручными станками, 2 — стеллажи и шкафы, 3 — стол для проведения различных ремонтных работ, 4 — полка для хранения шин, 5 — смотровая яма
Технология изготовления верстака в гараже своими руками: фото, чертежи
Верстак состоит из столешницы и подстолья, а также нескольких устройств зажимного типа. Высоту верстака в гараже следует подбирать с учетом собственного роста. Можно взять в качестве ориентира высоту кухонного стола в доме, за которым удобно работать. Обязательно составьте для создания верстака для гаража своими руками чертежи.
Обустройство гаража: как сделать верстак в помещении:
| Этап работы | Детали, размер в см | Тип крепления |
| Сборка столешницы | 20 досок (5х10х200) с пазами 2,5х2,5 в 5-ом и 16-ом элементе (шаг 25) | Клеевой состав металлические стяжки |
| Сушка | — | — |
| Изготовление ножек (4 шт.) | Брусок (10х10х80) с пазами под кронштейны на передних опорах | Кронштейны |
| Сборка основания подстолья | Рамы (2 шт.) из досок (5х10) | Соединение «в шип» на глубину 2,5 см и болты |
| Фиксация боковых и задних опорных стенок | Плиты ДСП (толщина 10 мм) | Шурупы |
| Фиксация столешницы к верхней раме | — | Болты |
Заключительная обработка предполагает пропитку готового изделия олифой и вскрытие лаком.
Рекомендации по созданию смотровой ямы в гараже своими руками
Не существует определенных размеров смотровой ямы в гараже. В качестве основы берутся габариты автомобиля.
Как сделать смотровую яму в гараж с оптимальными параметрами:
- Ширина подбирается с тем расчетом, чтобы внутри было достаточно места для работы. Размер ограничен расстоянием, на которое посажены колеса авто. Каждое колесо нуждается в небольшой площади для выполнения маневров. Средняя ширина ямы составляет 0,8 м.
- Длина ямы ограничивается длиной машины. К этому показателю следует добавить 1 м.
- Для расчета глубины используется рост владельца гаража. К нему прибавляется еще 10-15 см.
Как правильно сделать смотровую яму в гараж с использованием разных материалов:
| Материал | Толщина стенок, см |
| Керамический кирпич | 12-25 |
| Бетон | 15 |
| Строительные блоки | 20 |
Котлован вырывается с учетом оптимальной ширины ямы, материала, выбранного для стенок, а также толщины гидроизоляционного слоя. Этапы создания ямы:
- разметка;
- строительство котлована;
- обустройство котлована;
- строительство стен;
- прокладка освещения.
Для гидроизоляции стен применяется специализированная гидрофобная пропитка.

Схема обустройства смотровой ямы: 1 — стенки из пеноблоков, 2 — гидроизоляция, 3 — бутовая кладка. 4 — уголок размером 50х50х4 мм
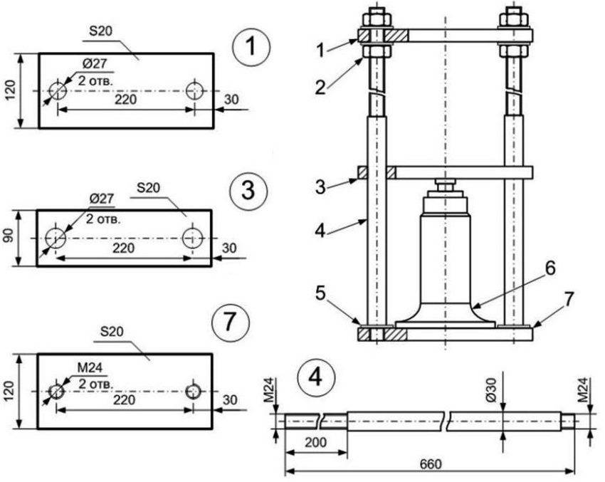
Изготовление пресса для гаража своими руками
Для создания пресса следует изготовить из 4 отрезков металлических труб каркас размером 178х80 см. Эти элементы соединяются методом сварки. В работе рекомендуется руководствоваться чертежами, заранее подобранными или составленными. После этого нужно установить:
- фиксатор;
- съемный упор;
- бутылочный домкрат (гидравлический).
Можно использовать для рассмотрения подробной технологии создания полезных приспособлений для гаража своими руками видео-материалы. Такие наглядные рекомендации помогают сориентироваться в размерах, освоить пошаговые инструкции и представить, какой внешний вид должна иметь готовая конструкция.

Схема изготовления гидравлического пресса: 1 — верхняя силовая платформа, 2 — гайки, 3 — нижняя платформа, 4 — шпильки диаметром 30 мм, 5 — нижняя резьба шпилек, 6 — гидравлический домкрат бутылочного типа; 7 — основание толщиной 20 мм
Обустройство гаража можно сделать собственными руками. На этом список полезных приспособлений не заканчивается. Его всегда можно дополнить любыми интересными идеями. Главное, чтобы гараж полностью соответствовал личным требованиям в отношении комфорта и удобства.
https://youtube.com/watch?v=D1BKvgCBg8Q
№2. Керамическая плитка

Керамическая плитка – еще один материал, который практически полностью соответствует всем выдвинутым требованиям, потому данный вид облицовки нередко встречается в гаражах. К его основным преимуществам стоит отнести:
- устойчивость к воздействию влаги и морозостойкость, так что суровые гаражные условия эксплуатации особо не навредят покрытию;
- огнеупорность;
- гигиеничность. Грязь к поверхности не липнет, а в случае чего практически любое загрязнение можно смыть со стены с минимальными усилиями;
- достаточная прочность;
- долговечность;
- широкий выбор и эстетичность. Керамическая плитка выпускается чуть ли не всех цветов, форм и размеров, а коллекции производителей каждый сезон пополняются, потому найти в этом разнообразии подходящий материал будет несложно. Даже самая простая однотонная плитка будет смотреться отлично. С эксплуатационной точки зрения лучше всего остановиться на клинкере – он прочнее обычной кафельной плитки, хоть и не обладает столь широким разнообразием цветов.
Без минусов не обошлось:
- стоимость материала, а также необходимость заплатить за его грамотный монтаж, если собственными силами справиться не получается;
- вес. Плитка – тяжелый материал, потому оптимальным основанием для нее будут кирпичные стены;
- относительно длительный монтаж.
Так как основным сдерживающим фактором от повсеместного применения плитки в гаражах является ее цена, то можно пойти на хитрость, комбинируя материалы. Нижняя часть стен является наиболее уязвимой, потому тут можно использовать клинкер, а остальную часть выполнить из более дешевой кафельной плитки. Можно сделать низ из плитки, а верх отделать штукатуркой. В этом случае мы получаем все выгоды, присущие плиточному покрытию, но можем значительно сэкономить.
Внутреннее обустройство гаража
Идей для обустройства гаража может быть много, но значительно сузить круг возможных вариантов можно исходя из требований к помещению. Помочь в деле расположения нужных и не очень вещей помогут дополнительные полки и стеллажи.
В помещениях с маленькой площадью главные советы по обустройству касаются стен. Установив различные подвесные системы, полки или же подвесные шкафчики, можно расширить площадь рабочей зоны. Их можно расположить под одной стенкой или в форме буквы “П”, если позволяет площадь.
Схема вентиляции.
Это хороший вариант для тех, кто собирается гараж сделать по совместительству и мастерской. Также шкафчики помогут избежать попадания влаги, распределить по предметам хранения и поддерживать порядок в гараже.
Вместо стеллажей под инструменты лучше сделать подвесной стенд. На них можно крепить даже транспортные средства по типу велосипеда, а также колеса и другие предметы, требующие особого способа хранения.
Если гараж будет или уже имеет большую площадь, можно задуматься о зоне отдыха. Функциональные зоны ограждаются различными дизайнерскими приемами в виде шторки или перегородками. В зоне отдыха можно поставить приставку, столик, организовать место для посиделок с друзьями.
Возможна организация санузла и, допустим, установка газового узла, что часто используется в случаях частного дома.
Важным пунктом во внутреннем обустройстве гаража считается отопление. По возможности рекомендуется установить приобретенную или самостоятельно сделанную печь. В зимнее время она поможет прогреть помещение для работы и поспособствует устранению влаги.
Качественная вентиляция и освещение – залог плодотворной работы

Работа в гараже невозможна без эффективной вентиляции и хорошего освещения. Гараж – это закрытое помещение. С трех сторон от вас будут расположены непроницаемые стенки, поэтому вся пыль и грязь, которая будет находиться в воздухе, останется в помещении даже при открытых воротах.
Чтобы ее эффективно удалять и проветривать гараж, необходимо наладить систему вентиляции. Если в вашем гараже имеются специальные душники, проверьте, не забились ли они. Вы можете дополнительно создать вентиляционные отверстия в верхней или нижней части. Если у вас имеется подвал, обязательно смонтируйте воздуховод на улицу и во внутреннюю часть помещения. Если задняя стенка гаража свободна, тогда можно и в ней создать отдушину сверху.
В помещениях с большой площадью этих решений может оказаться недостаточно. Тогда стоит позаботиться о специальных вентиляторах, которые займутся циркуляцией воздуха. Это позволит избежать загазованности в помещении, а также избавиться от неприятных запахов.
Теперь давайте поговорим об освещении детальнее. Естественное освещение – идеальный вариант, поэтому при возможности рекомендуется в конструкции гаража предусмотреть небольшое окно (или несколько). Однако, такой вариант далеко не в каждом помещении можно реализовать, особенно если у вас гараж в кооперативе. Тогда выход только один – искусственное освещение.
Вам следует предусмотреть наличие ламп в следующих местах:
- непосредственно на потолке (общее освещение);
- дополнительная лампа над капотом;
- при наличии верстаков и рабочего оборудования (над нами разместите несколько лампочек);
- в погребе и смотровой яме.
Но даже такого набора может оказаться недостаточно. Тогда следует оснастить гараж несколькими розетками в удобных местах, чтобы без труда подключить портативные переносные светильники или переноску. Качественное освещение упростит все работы, при этом сохранит вам зрение, так как в темном помещении вам придется постоянно напрягать глаза для поиска необходимых предметов.
Организовываем рабочее место
Вне зависимости от площади гаража, со временем возникнет необходимость в организации рабочего места. Для этого потребуется не менее одного стола, который обычно устанавливается в углу помещения. В случае если внутреннее пространство небольшое, можно воспользоваться следующей хитростью: смонтировать в свободной зоне навесную столешницу.
Для этого потребуются:
- лист ДСП;
- петли для мебели;
- фурнитура и крепежи;
- бруски.

Благоустройство гаража начинается с того, что на стену наносится разметка, после чего высверливаются отверстия и крепятся бруски. К последним фиксируются петли, на которые навешивается лист ДПС. В конце к этому материалу крепятся опоры.
Размещаем рабочий стол
Рабочий стол, при обустройстве гаража, размещается:
- вдоль дальней стены, во всю ширину;
- вдоль боковой стены;
- в углу.
Размер рабочего места варьируется в зависимости от свободной площади и потребностей владельца. Оптимально, если вместе со столом монтируются выдвижные ящики и навесные конструкции для хранения инструментов.

Монтируем стеллажи и ящики
Стеллажи можно приобрести в магазине или смонтировать своими руками. Для второго варианта потребуются:
- листы фанеры;
- обрезки труб;
- профиль (уголок).
Работа по монтажу начинается с нанесения разметки на стенах и определения размеров полок (ширина не должна превышать 60 сантиметров). Высоту последних можно варьировать в зависимости от личных предпочтений. Далее соединяются вертикальные и горизонтальные части стеллажа. Полученный каркас, посредством дюбелей, фиксируется к стене и полу.
На каждом из приведенных этапов рекомендуется отслеживать уровень полок и других элементов конструкции, не допуская перекосов.

На стеллажах часто размещают пластиковые контейнеры для хранения мелких предметов.
Полки для инструментов
Правила обустройства рабочего пространства применимы для любых гаражных конструкций, в том числе и для полок под инструменты. Последние устанавливаются на различной высоте, в зависимости от того, для хранения каких деталей используются.
Существует множество вариантов организации полок под инструменты. Наиболее простым способом обустройства рабочего пространства считается фиксация армирующей сетки толщиной 2 миллиметра на стене. После монтажа отдельные проволоки откусываются и отгибаются так, чтобы получились навесные крючки.

Второй, сравнительно простой в изготовлении, вариант предполагает крепление к стене листа фанеры, в котором просверлены отверстия, диаметром, соответствующем размерам инструментов (стамески, молотки, отвертки и других).
Крючки и держатели для гаражной аппаратуры
Существует также много вариантов держателей для гаражной аппаратуры: полки с выемками под инструменты, съемники и другие конструкции. Выбор в пользу конкретного приспособления в данном случае напрямую зависит от того, для хранения каких вещей оно применяется.

Для крупногабаритных предметов подойдут:
- полки с вырезанными пазами по размерам гаражной аппаратуры;
- отдельный навесной шкаф для смазочных материалов;
- отдельные шкафы-солдатики с контейнерами;
- картонные трубки и другое.
В магазинах можно найти так называемые гладиаторы, подходящие для хранения предметов различных размеров. Вместо обычных крючков, для фиксации крупногабаритных инструментов рекомендуется приобрести PowerTrack. Эта продукция выносит воздействие агрессивных сред и выдерживает грузы весом до 30 килограмм.
Органайзеры для мелких деталей
Если в гараже скапливаются мелкие вещи, для хранения подобных предметов подойдут пластиковые органайзеры. Последние можно приобрести в магазине либо сделать самостоятельно, вырезав часть пластиковой канистры.






































